
TurMass™ 网关
TurMass™ 传感器
TurMass™ 语音
TurMass™ 模组
LoRaWAN网关
LoRaWAN传感器
4G/以太网传感器
Cat.1传感器
NB-IoT传感器
软件平台
NB-IoT地磁(埋入式)
TBS-N210
无线车辆检测器(表贴式)
TBS-N223
无线车辆检测器(表贴式)
TBS-223
独立式光电感烟火灾探测报警器
JTY-GD-TCN2010
独立式光电感烟火灾探测报警器
JTY-GD-TCN2010
无线手动报警按钮
TBS-150
无线火灾声光警报器
TBS-130
无线火灾声光警报器
TBS-N131
无线手动报警器
TBS-N150
无线火灾声光警报器
TBS-130
无线手动报警按钮
TBS-150
底座式无线感温报警器
TBS-140
底座式无线感温报警器
TBS-N140
无线远程压力采集终端
TBO-L1700
无线远程压力采集终端
TBO-N1700
无线远程液位采集终端
TBO-L1710
无线远程液位采集终端
TBO-N1710
无线智能消防栓监测终端
TBO-N1720
无线智能消防栓监测终端
TBO-L1720
组合式电气火灾监控探测器
TBS-500
UWB 信标
WTU-102
TurMass™ LAN 双通道网关
TLG-520
UWB网关
WTU-212
TurMass™ 室内物联网网关
TBG-600
UWB定位终端模块/工牌
WTU-301
智能断路器
TBS-510
用户信息传输装置
TBO-M1830-A
TurMass™ 室外物联网网关
TBG-610
无线智能药盒
MB-100
GNSS定位终端模块
WTU-322
TurMass™ LAN 数据传输终端
TLD-200
TurMass™ LAN 终端模组
TLM-1XX
LoRaWAN数传终端传输器
TBD-100
JTY-GD-TCN2010
独立式光电感烟火灾探测报警器
Cat.1地磁(埋入式)
TBS-N210
爱培智能药箱
MB-200
智能药盒
MB-100
TTL 物联网平台
TSMP-A120
TWP 智慧停车管理平台
TWPS-A100
TPI 智慧园区停车引导平台
TPIS-A100
THF 智慧用药健康管理平台
THFS-A100
TSF 智慧消防管理平台
TSFS-A100
人员计数监测雷达
WTR-812
用户信息传输装置
TBO-M1830-B
Cat.1 工业数传终端
TBD-110
微波雷达交通计数器
TBRVC310
LoRaWAN地磁
TBS-N210-L
不定位式水浸控制器
TBO-171-DT
LoRa无线防水门磁报警器
TBS-160S
LoRa 无线水浸传感器
TBS-170
LoRaWAN 室外物联网网关
TBG-531
LoRaWAN 室内物联网网关
TBG-540
TurMass™ 定位物联网网关
WTU-221
智能照明控制模块
TBO-1920-DT
智能远传冷水水表
TBO-1730-DT
智能断路器
TBO-1930-DT
数字电能表
TBO-1910-DT
二氧化碳浓度监测终端
TBO-1030-DT
挥发性有机化合物TVOC监测终端
TBO-1040-DT
光照温湿度监测终端
TBO-1020-DT
多要素环境监测终端
TBO-1010-DT
TurMass™低频段标准模组
TBM-400
TurMass™ 低频段大功率模组
TBM-400-P
TurMass™数字手持对讲机
TBW-100
TurMass™ 无线数字手持对讲机
TBW-110
TurMass™ 领夹式迷你数字对讲机
TBW-120
智能遥控车位锁
TBO-2000
组合式电气火灾探测器
TBS-500
无线防水门磁报警器
TBS-N160S
视觉读表终端
TBO-N1740
紧急报警按钮
TBS-N152
本期测评的主角是无线光电感烟火灾探测报警器,安装无线烟感对于九小场所、古镇老街、智慧社区、学校等场所来说,已经比较常见,不过,大家是否知道无线烟感是怎样守护消防安全的呢?小编借用了某园区的储货仓库,安装了这款无线光电感烟火灾探测报警器,来为大家仔细分析一下这款无线烟感的功能和优势。


安装好无线光电感烟火灾探测报警器,小编首先通过指定智慧消防平台管理页面添加设备信息(所属系统、应用平台、设备名称、设备编号、安装位置、联系人、联系电话等)。


设备添加完成后,会在设备信息菜单栏里面显示设备状态的信息,以及在智慧消防平台首页的GIS地图上显示设备的地理位置、报警状态实时展示及报警数据统计等信息。


设备添加完毕后,尝试无线光电感烟火灾探测报警器功能。这款无线光电感烟火灾探测报警器基于LoRa/NB-IoT无线通信技术设计,具备远距离无线通信能力的产品,无需布线,安装简单。可检测烟雾浓度,超标立即报警,该设备可现场语音和灯光报警,系统具备全面的设备状态监测,还支持远程设备运维,可大大提高火灾报警准确率,让烟感的功能更人性化,同时设备运维也更容易。
这款无线烟感适用于在独居老人居所/养老院、九小场所、古镇老街、智慧社区、学校等场所,小编总结了以下几个原因:一、原有的前端感知设备不齐全,无法准确快速的定位火源始发地;二、街边商铺、住宅、老旧小区数量多,分散广,难以敷设线路,改造困难;三、人员密度大,弱势群体集中,遇到火情逃生不便;四、电气线路超负荷或老化造成短路,有火灾隐患。
对于智慧消防系统来说,这都不算事儿。智慧消防系统的几大特点:1、统一平台管理,集中化,数据化,可视化;2、前端感知设备齐全;3、易部署、交付快、成本低;4、支持远程调试及运维。
这款产品与传统消防烟感探测器最大的差别究竟在于哪里呢?
第一点区别,布线。传统烟感探测器是需要布线的,无线光电感烟火灾探测报警器是不需要布线的。该探测器是基于LoRa/NB-IoT无线通信技术联网。
第二点区别,安装问题。布线问题直接导致了两者的安装难度问题,有线烟感探测器布线在一些场所比较大的情景下是花费大量人力物力的,尤其是厂区,屋顶很高,又没有平台,想布线是难上加难。这种场景下,无线光电感烟火灾探测报警器就能显现出自身的优势了,安装方便算无线探测器最大的好处之一。
第三点区别,维护问题。传统烟感探测器在发生问题时,需要专业人士到现场进行排查,很难找到问题点。但无线光电感烟火灾探测报警器,在故障检查方面有更好的智能性,烟感探测器的故障问题会自动上传到智慧消防平台的后台,只需要查看相关报文就能了解具体是什么问题,维护方面可以说是对传统烟感探测器进行了全面的升级。
这款无线光电感烟火灾探测报警器的功能效果如何?
1、 支持LoRa/NB-IoT无线通信方式组网,电池供电,施工简单方便;
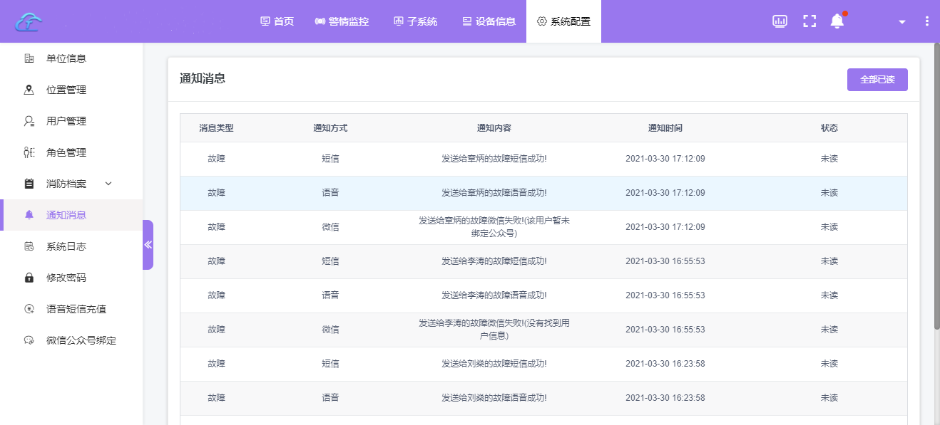
2、 本地语音和灯光、远程电话、短信和微信,报警及时;
3、 烟雾浓度和温度无线上报,现场火情了解更准确;
4、 全面的设备状态监测,设备管理和维护更简单;
5、 微信远程消音、远程配置,跨平台和空间,使用方便;
6、 CCCF认证+财产保险,为火灾提供全方位安全保障。


此外,这款无线光电感烟火灾探测报警器支持超长电池续航,预计可使用3年,一旦进入低电量状态,便会给相关人员发送低电量告警信息,提醒更换电池。总之,这款无线光电感烟火灾探测报警器的意义是将火灾隐患防范于未“燃”,保证人民生命财产安全,构造和谐社会。
使用LoRa、NB-IoT混合组网的方式,可以实现对管理区域内所有无线光电感烟火灾探测报警器24H实时在线监控、秒级火灾预警和报警、多种报警通知方式,能够及时有效的减少伤亡和损失,为人民生命财产筑起一道安全屏障。
更多产品参数详见下表


